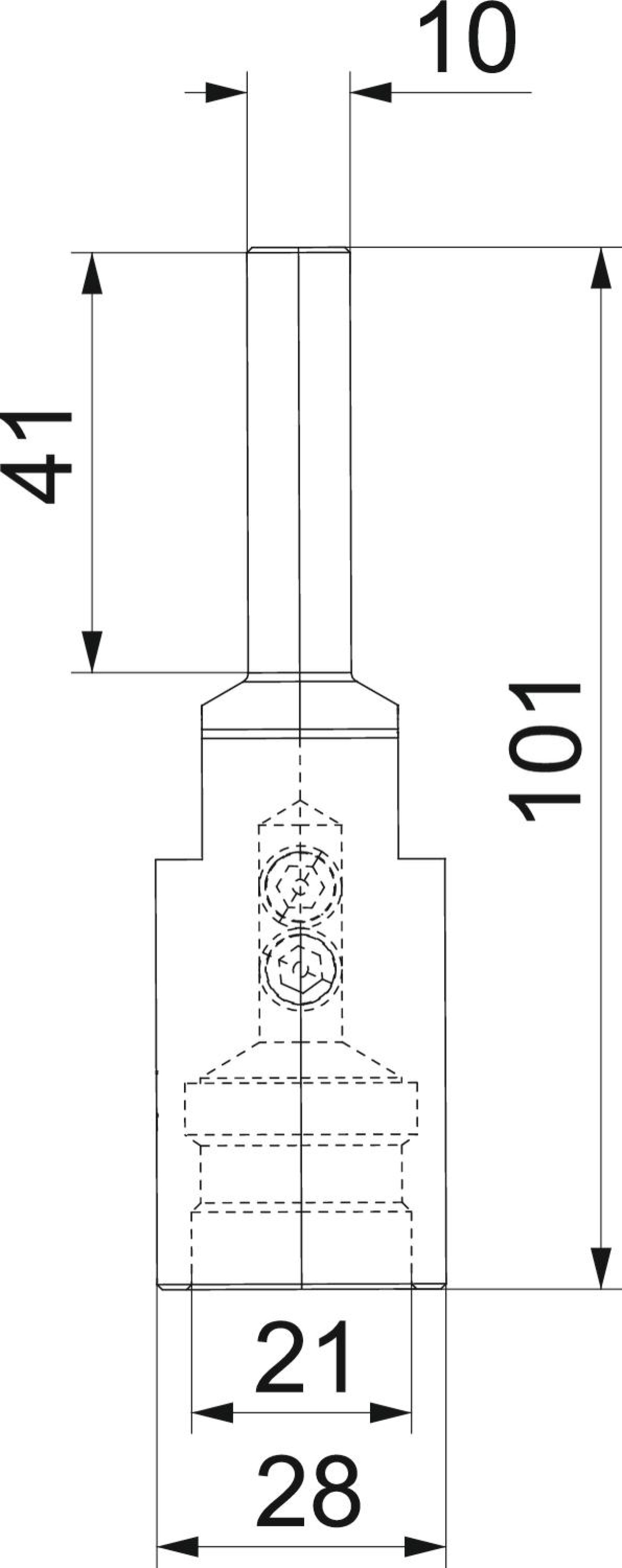
Connection element for isCon Basic Pro Ø20mm Aço inoxidável, livre de ferrugem 1.4301 A2 1.4301
Hastes
Connection element for isCon Basic Pro Ø20mm Aço inoxidável, livre de ferrugem 1.4301 A2 1.4301
Ref Fabricante:
5408021
Ref Nortécnica:
EAN:
4012196591671
Descrição
Informações Técnicas
Atributos
Modelo
-
Tipo de acabamento
-
Conexão
-
Comprimento
-
Material
Aço inox 304 (V2A)
Diâmetro intervalo
-
-
Acabamento isolado resistente a alta tensão
-
Telescópico
-
Marcas
OBO
Ficha Técnica